Après vous avoir présenté "Multiverses" de Hiroshi Kondo, une vidéo présentant les mouvements sans fin des environnements urbains, voici "The Others", une vidéo qui capture l'énergie et la solitude que l'on peut ressentir en vivant à Tokyo, la mégalopole la plus peuplée du monde.
Mithun H est un photographe animalier indien qui ne manque de patience. Dernièrement, Mithun a réussi à photographier un léopard et une panthère noire dans la forêt de Kabini en Inde après 6 jours d'attente pour obtenir le cliché parfait.
Bonne nouvelle pour les amateurs d'astronomie. La NASA a récemment rendu accessible l'intégralité de son fonds photographique (mais aussi vidéo et audio) à tous. Ces images sont désormais libres de droits et peuvent être utilisées très largement à travers le portail en ligne de la NASA.
Le photographe Julien Mignot expose à l'Hôtel Fontfreyde, un centre dédié à la photographie à Clermont-Ferrand. Prolongée jusqu'au 20 septembre 2020 en raison du Covid-19, l'exposition "Le photographe et son double" permet de découvrir l’univers non formaté de Julien Mignot.
ShiftCam ProGrip est un grip pour smartphone polyvalent qui permet à la fois d'améliorer la prise en main de son smartphone pour la réalisation de vidéos et de photos, sert également de station de chargement sans fil et de dock portable pour une utilisation mains libres.
Chaque semaine, découvrez les liens que nous partageons avec vous dans les Sunday Links.
Pentax vient de dévoiler une nouvelle offre estivale. Valable jusqu'au 31 août 2020, elle concerne une très large sélection de reflex et d'optiques APS-C, plein format et moyen format, ainsi que compacts baroudeurs.
Comment enregistrer les métadonnées de vos photos réalisées à l'argentique ? De nombreux photographes utilisent un carnet de bord pour cela, et MetaLog est une application mobile sur iOS qui permet de faire cela de manière numérique : enregistrer les métadonnées des photos d'une pellicule argentique mais aussi tenir un inventaire de son matériel photo.
Envie de découvrir les logiciels de la Nik Collection 3 by DxO ? Une version d'essai gratuite de 30 jours est disponible.
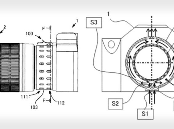
Canon a déposé un brevet pour une bague d'adaptation d'objectif EF/EF-S conçue pour refroidir l'appareil. Une solution qui pourrait rassurer les futurs possesseurs de Canon EOS R5, qui fait actuellement l'objet d'une polémique liée à un problème de surchauffe en vidéo.
Alors que les photographes sont dans l'attente d'une nouvelle version de l'excellent objectif focale fixe Fujinon XF 35 mm f/1,4 R créé par Fujifilm, le constructeur vient de dévoiler sur Youtube une vidéo à l'honneur de cet objectif présenté comme "The Original".
Les Ateliers Médicis lancent leur 5ème appel à candidatures des Regards du Grand Paris. Autour du thème "Observer nos distances", la commande photographique nationale de 10 ans se poursuivra jusqu'en 2026. Vous avez jusqu'au 15 septembre 2020 pour proposer vos représentations du Grand Paris !
Dans mon esprit, DriveSlide vient de remplacer le velcro. Ce projet Kickstarter, créé par Anna et Eli Jay, est une solution astucieuse pour accrocher un accessoire à la surface arrière de l'écran d'un ordinateur portable. Disque dur, hub USB, lecteur de carte ou tout autre accessoire peut ainsi être fixé rapidement et facilement.
Comment sauvegarder ses photos en ligne et les partager facilement avec ses amis, proches ou clients ? C'est à cette problématique que répond Joomeo, une plateforme française de stockage photo en ligne et de partage pour vos images (photos et vidéos).















