Canon se préparerait-il à lancer un téléobjectif professionnel doté d’un téléconvertisseur ? C’est ce que laisse entendre un brevet récemment déposé par l’opticien japonais. Le document donne un aperçu d’un futur (et hypothétique) RF 300 mm f/2,8 avec un téléconvertisseur 1,4x intégré.

Une nouvelle focale fixe sportive chez Canon ?
Depuis son lancement en 2018, la monture RF s’est enrichie de plusieurs téléobjectifs professionnels, à l’instar des RF 400 mm f/2,8 L IS USM et RF 600 mm f/4 L IS USM. Mais pour les photographes cherchant une focale un peu plus courte, Canon ne propose pour l’instant aucune alternative à son (excellent) zoom RF 100-300 mm f/2,8 L IS USM.
Aussi, la perspective d’un téléobjectif 300 mm, évoqué par un brevet déposé le 15 janvier 2026, a de quoi faire tourner des têtes. Mieux encore : l’intégration d’un téléconvertisseur 1,4x permettrait de basculer instantanément d’un 300 mm f/2,8 à un 420 mm f/4. Un duo de focales et d’ouvertures que Canon proposait historiquement en monture EF, mais qui seraient ici réunies en une seule optique.
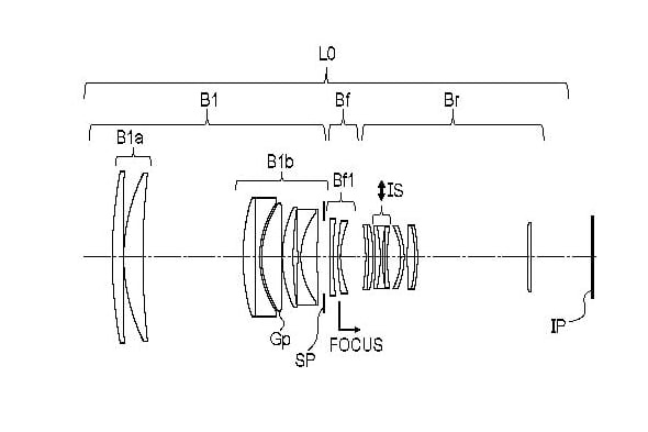
D’après les schémas fournis, la conception optique de cet objectif serait ambitieuse, avec 18 lentilles réparties en 7 groupes. Un groupe supplémentaire, baptisé « EXT », inclut 6 lentilles dédiées au téléconvertisseur 1,4x. L’objectif de Canon est clair : permettre le changement de focale sans modifier l’encombrement ni l’équilibre de l’objectif.


Enfin, l’espace à l’arrière du fût semble suffisant pour autoriser le montage d’un téléconvertisseur externe (1,4x ou 2x). De quoi prolonger encore un peu plus la portée de cette focale fixe.
Téléconvertisseur intégré sur optique plein format : un système déjà croisé chez Nikon… et Canon !
Par sa longueur focale, ce futur téléobjectif Canon évoque le Sony FE 300 mm f/2,8 GM OSS. Cependant, cet ingénieux système de téléconvertisseur interne rappelle beaucoup deux optiques lancées par Nikon pour ses hybrides en monture Z :
Sur ces deux optiques, dévoilées en 2022, un commutateur latéral permet de changer de focale sans quitter le viseur des yeux. Soit un atout majeur pour les photographes de sport, d’action ou d’animalier, en offrant une dose supplémentaire de polyvalence.

Toutefois, les “vrais” canonistes se souviennent du zoom Canon EF 200-400 mm f/4 L IS USM EXT 1,4x : lancé en mai 2013, ce téléobjectif atypique était lui aussi doté d’un téléconvertisseur 1,4x, qui permettait de le transformer “en un clic” en un zoom 280-560 mm f/5,6. Prix de la bête à son lancement : 12 699 €. Et 5300 € environ d’occasion (en état neuf).
Pour l’heure, ce téléobjectif Canon RF 300 mm f/2,8 reste au stade du dépôt de brevet. Cela étant, le salon CP+ de Yokohama, qui aura lieu du 26 février au 1er mars 2026, sera (peut-être) l’occasion d’en apprendre davantage sur cette optique particulièrement intrigante.



